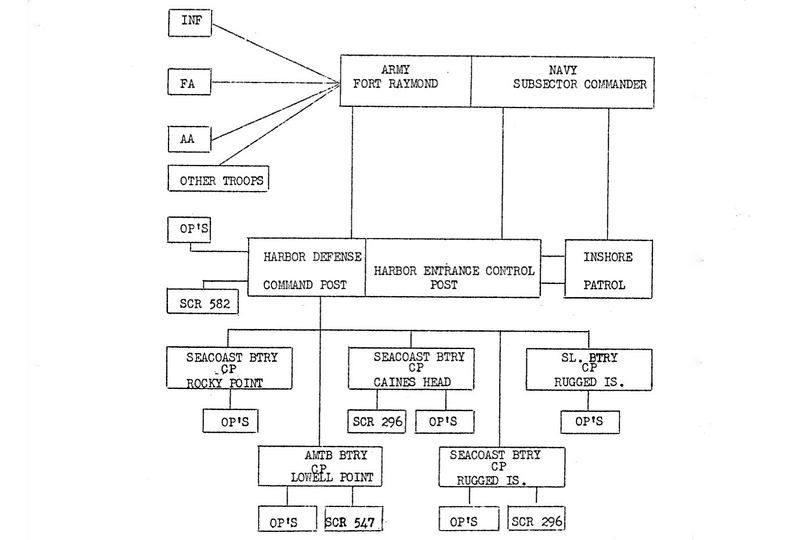
Category:Harbor Defense of Seward
Jump to navigation
Jump to search


| Battery Click on Battery links below |
No. | Caliber | Type Mount | Service Years | Battery Cost | Notes |
|---|---|---|---|---|---|---|
| Battery 294 | 2 | 6" | Shielded Barbette | 194?-1944-1944-1944 | $ ? | Tac 3 90% Complete |
| Source: CDSG | ||||||
| Battery Click on Battery links below |
No. | Caliber | Type Mount | Service Years | Battery Cost | Notes |
|---|---|---|---|---|---|---|
| Battery 293 | 2 | 6" | Shielded Barbette | 1943-NC-1944-1944 | $ ? | Tac 2 99% Complete |
| Battery AMTB - Lowell Point | 2 2 |
90mm 90mm |
T3-Fixed M1A1-Mobile |
1943-1943-1943-1944 | $ ? | RCW indicates 4-90mm guns |
| Battery 155 - Rocky Point (2) | 4 | 155mm | Panama Mount | 194?-194?-1943-1944 | $ ? | Tac 1 |
| Source: CDSG | ||||||
Timeline:
- Construction of fixed defenses began 20 Jul 1942 under contract to West Construction Company
- Tactical organization authorized and posts named 25 Mar 1943
- Deactivation authorized on 23 March 1944
- Armament remove and shipped by 31 May 1944
- Estimated cost of construction was $ 4,727,000
Sources:
Pages in category "Harbor Defense of Seward"
The following 3 pages are in this category, out of 3 total.